П.Н. Афонин. «Информационные таможенные технологии»
Структура ОКОД (один поток команд, один поток данных) — однопроцессорная ЭВМ (рис. 5).
Структура ОКМД (один поток команд, много потоков данных) — матричная многопроцессорная структура. Система содержит некоторое число одинаковых сравнительно простых быстродействующих процессоров, соединенных друг с другом и с памятью данных регулярным образом так, что образуется сетка (матрица), в узлах которой размещаются процессоры (рис. 6). Возникает сложная задача распараллеливания алгоритмов решаемых задач для обеспечения загрузки процессоров. В ряде случаев эти вопросы лучше решаются в конвейерной системе.
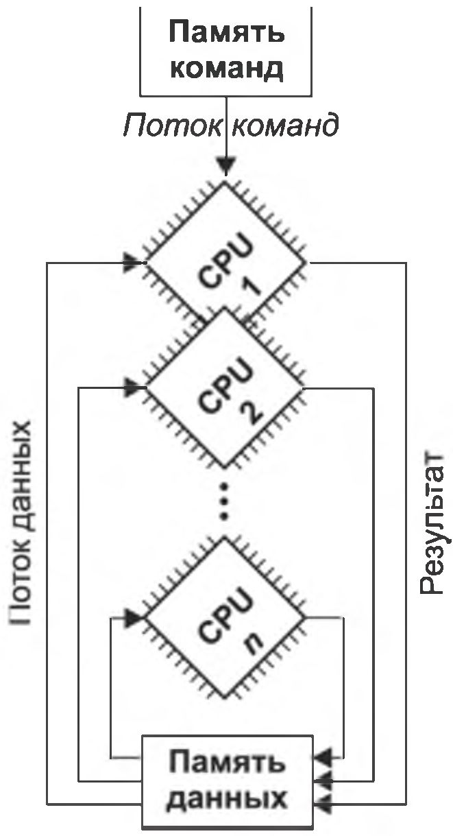
Структура МКОД (много потоков команд, один поток данных) — конвейерная многопроцессорная структура (рис. 7). Система имеет регулярную структуру в виде цепочки последовательно соединенных процессоров, так что информация на выходе одного процессора является входной информацией для следующего в конвейерной цепочке.
Рис. 5. Структура ОКОД
Рис. 6. Структура ОКМД
Рис. 7. Структура МКОД
Процессоры образуют конвейер, на вход которого одинарный поток данных доставляет операнды из памяти. Каждый процессор обрабатывает соответствующую часть задачи, передавая результаты соответствующему процессору, который использует их в качестве исходных данных. Таким образом, решение задач для некоторых исходных данных развертывается последовательно в конвейерной цепочке. Это обеспечивает подведение к каждому процессору своего потока команд, т. е. имеется множественный поток команд. Структура МКМД (много потоков команд, много потоков данных) представлена на рис. 8.
Существует несколько типов МКМД: мультипроцессорные системы, системы с мультиобработкой, многомашинные системы, компьютерные сети.
1.3.5. Управление памятью
Оперативная память играет особую роль при функционировании информационных таможенных технологий. Программа может выполняться только в том случае, если она находится в памяти. Память распределяется между пользовательскими и системными программами ОС.
Функции ОС по управлению памятью. К основным функциям ОС по управлению памятью относятся:
• учет свободной и занятой памяти;
• выделение памяти процессам и ее освобождение;
• вытеснение кодов и данных процессов на диск, когда памяти не хватает, и возврат на место;
• настройка адресов на конкретную область физической памяти;
• дефрагментация;
• защита памяти.
Типы адресов. Для идентификации команд программы и данных используются адреса. Адреса подразделяются на следующие виды: символьные имена (присваивает программист, например метки); виртуальные адреса (формирует транслятор, начальный адрес равен 0); физические адреса — номера ячеек памяти, где в действительности будут расположены команды и данные.
Рис. 8. Структура МКМД
Совокупность виртуальных адресов составляет виртуальное адресное пространство (ВАП). Виртуальное адресное пространство определяется разрядностью компьютера.
1.3.6. Кэш-память
Кэш-память (cache) — это способ совместного функционирования двух типов запоминающих устройств, который позволяет ускорить доступ за счет динамического копирования часто используемой информации из «медленного» в «быстрое» запоминающее устройство (ЗУ).
Свойством кэш-памяти является, прежде всего, прозрачность для программ и пользователей, т. е. функционирование кэш происходит незаметно для программ.
Кэш-памятью или кэшем, также часто называют одно из устройств типа «быстрое» ЗУ. Оно сравнительно дороже и быстрее обычного ОЗУ. Принцип действия кэш-памяти представлен на рис. 9.
Рис. 9. Принцип действия кэш-памяти
Как видно из рис. 9, запись в кэш выполняется при чтении в том случае, если эти данные в кэш отсутствуют. Если же в кэш данные есть, то обращение к основной памяти не происходит, и в этом случае они считываются из кэш.
Содержание кэш-памяти представляет собой совокупность записей о всех данных из основной памяти (ОП), загруженных в нее (рис. 10).
Рис. 10. Содержание кэш-памяти
Время доступа пропорционально вероятности попадания в кэш, которая составляет не менее 90%.
Высокая степень попадания в кэш объясняется некоторыми объективными свойствами компьютерных данных. К таким свойствам относятся следующие.
Временная локальность. Если произошло обращение по некоторому адресу, то следующее обращение с большой вероятностью произойдет в ближайшее время. Временная локальность позволяет надеяться, что имеет смысл копировать данные в кэш, так как вскоре, вероятно, все равно будет обращение к ним.
Пространственная локальность. Если произошло обращение по некоторому адресу, то с высокой степенью вероятности в ближайшее время произойдет обращение к соседним адресам. Свойство пространственной локальности делает целесообразным копировать в кэш не одну единицу данных, а целый блок. Алгоритм действия кэш-памяти представлен на рис. 11.
Рис. 11. Алгоритм действия кэш-памяти
1.3.7. Организация ввода-вывода
Подсистема ввода-вывода обеспечивает обмен данными между приложениями и периферийными устройствами. Основные компоненты данной подсистемы составляют драйверы и файловая система. К основным задачам подсистемы относятся:
• организация параллельной работы устройств и процессора;
• кэширование данных;
• разделение устройств и данных между процессами;
• удобный логический интерфейс;
• простое включение нового драйвера и файловых систем;
• поддержка синхронных и асинхронных операций.
Организация параллельной работы устройств и процессора. Каждому устройству ввода-вывода соответствует специальное устройство управления — контроллер. Контроллер работает параллельно с процессором и взаимодействует с прикладными программами через посредство особой программы ОС — драйвера.
Подсистема ввода-вывода обслуживает контроллер в реальном масштабе времени, т. е. на уровне электрических сигналов. Для приемлемого уровня реакции все драйверы разделяются на несколько приоритетных уровней. Для реализации приоритетной схемы используется диспетчер прерываний.
Кэширование данных. В общем случае скорости генерации данных и их чтения не совпадают. Для согласования данные вводится буферизация, доступ к буферу синхронизируется. Буфер обычно располагается в ОЗУ. При больших объемах ввода-вывода памяти может не хватать, и в таких случаях под буфер используется дисковый файл — спул-файл.
Другим решением является оснащение контроллера буферной памятью, соизмеримой с ОЗУ. Буферизация решает и другую задачу — сократить количество реальных обращений к устройствам за счет кэширования (дисковый кэш).
1.4. ФАЙЛОВЫЕ СИСТЕМЫ ИНФОРМАЦИОННЫХ ТАМОЖЕННЫХ ТЕХНОЛОГИЙ
Дифференцированный подход к финансированию таможенных подразделений определил широкий диапазон установленных в них средств вычислительной техники. В этой ситуации проблема выбора типа файловой системы является нетривиальной задачей, решение которой требует углубленного знания особенностей функционирования той или иной файловой системы на компьютерах разных поколении. Некорректный выбор типа файловой системы может сильно повлиять на производительность используемого системного и специального таможенного прикладного программного обеспечения.
1.4.1. Логическая и физическая организация файловой системы
Файловая система (ФС) — это часть операционной системы, включающая совокупность всех файлов на диске, служебные структуры, включая каталоги, системные программные средства.
Файл — это именованная область внешней памяти, в которую можно записывать и из которой можно считывать данные. Файловые системы поддерживают функционально различные типы файлов, например:
• обычные файлы (ОС не контролирует содержимое этих файлов);
• каталоги (содержат системную информацию о наборе файлов);
• специальные файлы (фиктивные файлы, соответствующие устройствам ввода-вывода);
• отображаемые в память файлы и т. д.
Иерархическая структура файловой системы. Большинство файловых систем имеют иерархическую структуру. Структура может быть организованна как дерево (рис. 12, а) или как сеть (Unix) (рис. 12, б).
В древовидной структуре действует принцип: один файл — одно полное имя. В сетевой: один файл — много полных имен (за счет наличия уникального цифрового имени).
<< [1] [2] [3] [4] [5] [6] [7] [8] [9] [10] [11] [12] [13] ... [66] >>
|